Startseite
Hinweise & Lieferbedingungen
Kontakt
Datenschutz
Impressum
Seilrollen
Treibscheiben
Zubehör
Treibscheibenkränze
Anfrage
Unternehmen
Treibscheiben-Anfrage
Um das Formular nutzen zu können, müssen Sie JavaScript in Ihrem Browser aktivieren.
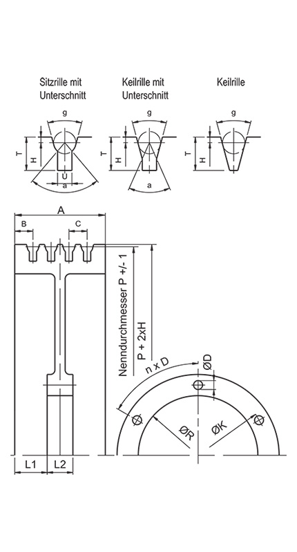
Treibscheibe, einteilig
Seildurchmesser
mm
Anzahl Seilrillen
Belastung
kg
Rillenform
A
mm
B
mm
C
mm
N
mm
P
mm
R
mm
V
mm
U
mm
H
mm
T
mm
α
°
γ
°
Name *
Vorname *
Telefon
E-Mail *
Bemerkung
Ich habe die
Datenschutzerklärung
gelesen.
* = Eingabe erforderlich
Treibscheibe einteilig
Treibscheibenkranz